1. 51漫画网在免费阅读,51漫画APP官方网站,51漫画下载网站,51漫画在线登录入口

    旋转51漫画APP官方网站 1 2 3
    热门关键词: 51漫画下载网站系列、 冷卷法兰系列、 橡胶接头管系列
    联系51漫画网在免费阅读查看更多+

    地 址: 河南省巩义市西村工业区

    联系人: 庞经理

    手 机: 15617617287

               15038001853

    E_mail: gyltgd@126.com

    网 址: http://www.ahdslyy.com/

    http://www.gyltgdc.com/

    伸缩接头系列

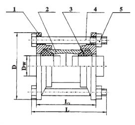
    SSJB(AY)型压盖式松套伸缩接头

    SSJB(AY)型压盖式松套伸缩接头是在松套伸缩接头原有性能的基础上,增设限位装置,在压盖式松套限位伸缩接头最大伸缩量处用双螺母锁定。这样就实现管道在允许的伸缩量中可以自由伸缩,一旦超过压盖式松套限位伸缩接头最大伸缩量,就起到限位,这样就有效的确保压盖式松套限位伸缩接头管道的安全运行,特别适用于有震动或有一定斜度及在拐弯的管路中的选择。

    全国24小时销售热线:15617617287

    性能特点:
    SSJB(AY)型压盖式松套伸缩接头是在松套伸缩接头原有性能的基础上,增设限位装置,在压盖式松套限位伸缩接头最大伸缩量处用双螺母锁定。这样就实现管道在允许的伸缩量中可以自由伸缩,一旦超过压盖式松套限位伸缩接头最大伸缩量,就起到限位,这样就有效的确保压盖式松套限位伸缩接头管道的安全运行,特别适用于有震动或有一定斜度及在拐弯的管路中的选择。

                     

    安装注意事项:
    SSJB(AY)型压盖式松套伸缩接头适用于两边与管子插接,无需焊接,机构合理,密封可靠,安装快捷方便。

    SSJB(AY)型压盖式松套伸缩接头材料表

    序号 名称 数量 材料
    1 压盖 2 QT400-15、Q235A、ZG230-450、1Cr13、20
    2 套筒 1 Q235A、20、16Mn、1Cr18Ni9Ti
    3 密封圈 2 NBR、CR、FPM、NR
    4 螺柱 n Q235A、35、1Cr18Ni9Ti
    5 螺母 n Q235A、20、1Cr18Ni9Ti

    SSJB(AY)型压盖式松套伸缩接头基数据表

    公称通径DN 管子外径DW 外形尺寸 n-Th
    L1 L D 0.25-1.6Mpa 2.5-6.4Mpa
    65 76 180 208 155 4-M12 4-M12
    80 89 165
    100 108 190 4-M16
    114 195
    125 133 215
    140 225
    150 159 220 245 4-M16 6-M16
    168 255
    200 219 310
    250 273 223 375 6-M20 8-M20
    300 325 220 273 440
    350 355 470 8-M20 10-M20
    377 490
    400 406 520
    426 540
    450 457 570 10-M20 12-M20
    480 590
    500 508 625
    530 645
    600 61O 730
    630 750
    700 720 850 12-M20 14-M20
    800 820 290 355 965 12-M24 16-M24
    900 920 1065 14-M24 18-M24
    1000 1020 1165
    1200 1220 1365 16-M24 20-M24
    1400 1420 377 1590 18-M24 24-M27
    1500 1520 1690
    1600 1620 1795 20-M27 28-M27
    1800 1820 2000 22-M27 32-M30
    2000 2020 2200 24-M27 32-M30
    2200 2220 400 2420 26-M30  
    2400 2420 2635 28-M30
    2600 2620 400 2835 30-M30
    2800 2820 3040 32-M33
    3000 3020 3240 34-M33
    3200 3220 3440 36-M33
    3400 3420 490 3640 38-M33
    3600 3620 3860 40-M33

    上一篇:GFJH型双法兰钢复接头 下一篇:焊接式伸缩接头
    网站地图